地址:上海市閔行區梅蓮工業園滬光東路89號2棟1層 (201108)
電話:021-54430662
傳真:021-52271113
郵箱:info@kewill-auto.com.cn
制藥行業用什么流量計,一般客戶會問污水用什么流量計,我們會告訴客戶用進口的產品,選用德國KEWILL的污水流量計,進口的產品質量好,有保障,相對比較的穩定,污水用什么流量計選用電磁流量計或是超聲波都可以滿足需求。
德國KEWILL專業生產制藥污水流量計,污水用什么流量計,選用電磁流量計或是超聲波,KEWILL電磁流量計采用進口傳感器和優質電極,測量精度準,測量流量更穩定;多單位切換,全隔離放大,流量變化響應快,采用智能濾波處理,有效提升抗干擾能力。具體看下它的優勢。

制藥污水流量計優勢
●電磁流量計是一種測量體積流量的儀表,測量的結果與流速分布,流量壓力,溫度,密度,粘度等物理參數無關
●測量管內無活動部件,便于維護管理,所以傳感器的使用壽命長;無阻流部件,因為無壓力損失
●被測液體電導率最低可達5μS/cm,配合各種襯里材料,可適用于測量各種酸、堿、鹽溶液及泥漿、礦漿、紙漿等介質的流量,精準度較高,
通常為±0.5% ±0.2%
●由于感應電壓信號時在整個充滿磁場的空間中形成的,是管道截面上的平均值,因此傳感器所需要的直管段較短,一般為前5D后3D
●傳感器部分只有內襯和電極與被測液體接觸,只要合理選擇電極和內襯材料,即可耐腐蝕和耐磨損,保證長期的使用
●雙向測量系統,可測量正向流量,反向流量
●高清晰度背光LCD顯示,漢英菜單操作,使用方便,操作簡單,易學易懂
●轉換器性能可靠、精度高、功耗低、零點穩定、參數設定方便、LCD顯示,可以顯示累計流量、流速、流量百分比等參數
●采用16位嵌入式微處理器,運算速度快,精度高,可編程頻率低頻矩形波勵磁,提高了測量的穩定性,低功耗
●全數字量的處理,抗干擾能力強,測量可靠,精度高,流量測量范圍可達150:1
●超低EMI開關電源,使用電源電壓變化范圍大,抗EMC好
●具有RS485、RS232、HART和Modbus等數字通訊信號輸出
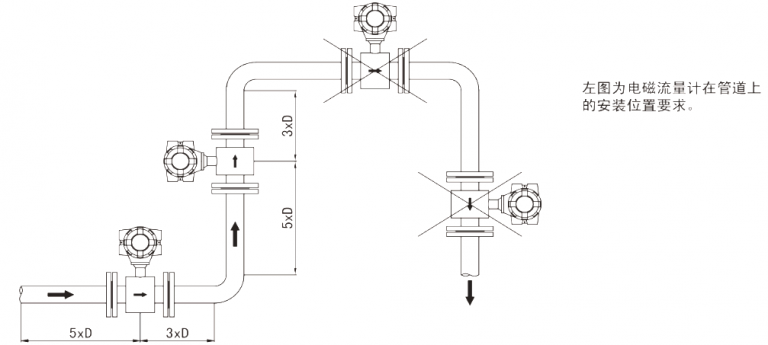
傳感器上下游直管段的要求:
為了在不同的應用條件下確保說明書所表述的精度,安裝傳感器時應從電極面上游安裝五倍管徑的直管段,下游安裝三倍管徑的直管段,見下圖所示。這種安裝可以充分排出由于彎管、閥門或縮頸引起的干擾。當流量計前后的直管段不能滿足要求時,性能指標會有一定偏差。

傳感器接地要求:
在電磁流量計傳感器于被測介質之間必須有一個可靠的接地路徑。接地的方式可以選擇接地電極,接地環和管道接地等三種方式。

